品牌  【直播】  50强   整机  ​【联盟】  机构  【视界】  展会  招聘  云服务          微博   公众号AIrobot518 
【​今日焦点
【行业动态】
NEWS / 新闻中心
中航光电RFP系列连接器,助力高密度大容差板间射频信号传输
来源:中航光电 | 作者:中航光电 | 发布时间: 2039天前 | 4225 次浏览 | 🔊 点击朗读正文 ❚❚ | 分享到:
随着5G应用发展的走深向实,这些问题都将迎刃而解。5G基站使用Massive MiMo技术,使信道容量大幅增加。作为5G基站重要组成部分的板间射频连接器的用量也将水涨船高。

  随着5G应用发展的走深向实,这些问题都将迎刃而解。5G基站使用Massive MiMo技术,使信道容量大幅增加。作为5G基站重要组成部分的板间射频连接器的用量也将水涨船高。

  传统板间三件套一直以来是较为流行的解决方案,但随着主板、天线板、滤波器的更新迭代,对板间连接器的性能要求越来越高,成本管控越来越严苛。市场亟需一种新的传输方式和结构,打破行业壁垒。此时,低成本容差大板间应用灵活方便的PogoPin弹簧针映入眼帘,经过小航不断技术创新,RFP系列一件式射频浮动连接器应运而生。快快跟随小航的脚步一起来看下吧!

  RFP系列射频板间连接器采用一件式结构,很好的解决了空间小、多通道、大容差环境下的射频信号传输,强势助力用户实现5G射频板间互联。

  5G brings increasing demands of the number, performance and cost of board to board connectors. Besides traditional board to board connector, new transmission method is urgently needed. Low cost, high tolerance, flexible and convenient PogoPin is an option. After continuous technical innovation , JONHON launched RFP one-piece RF floating connectors. It is used for RF signal transmission in small space, multi-channel and large tolerance environment.

  产品简介 Introduction

  ▼连接器含金属外壳

  Connector with metal shell

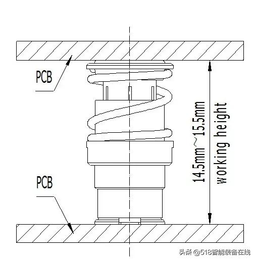
  弹簧式浮动、表贴

  spring floating, surface mounting

  多通道弹片式浮动、穿板焊接

  multi-channel spring floating, plate welding

  ▼连接器不含金属外壳,含绝缘体

  connectors without metal shell, but with insulator

表贴 surface mounting 

  穿板焊接 plate welding

  ▼连接器不含外壳体,采用空气绝缘体

  connector without outer shell,but with air insulator


  应用场景 Application

  •   移动通信
  •   无线通讯
  •   小基站
  •   天线及射频其他领域
  •   Mobile communications
  •   Wireless communication
  •   Small cell
  •   Antenna, RF and others

  ▼产品特点

  •   一体式设计、低成本方案
  •   兼容更高板间容差
  •   更好传输天线的高频信号
  •   精准稳定的连接点利于射频信号传输
  •   占用空间小

  ▼Characteristics

  •   One-piece design, cost-effective
  •   Compatible with higher tolerance between boards
  •   Great high frequency signal transmission of antenna
  •   Accurate and stable connection points  for RF signal transmission
  •   Small size and space-saving

  ▼性能指标

  工作温度:-40℃~105℃

  特性阻抗:50Ω

  频率范围:DC~6GHz

  回波损耗:≤-22dB DC~4GHz,≤-20dB 4~6GHz

  插入损耗:≤0.15dB DC~4GHz, ≤0.2dB  4~6GHz

  浮动范围:customization

免责声明:所载内容及图片来源于互联网、微信公众号、企业投稿等公开渠道,本文转载仅供参考、交流。转载的稿件版权归原作者和机构所有,如有侵权,请联系我们及时删除。

​​​​2026“全国移动机器人行业活动”合作商招募中

​报名热线:400-0756-518​​​​、13512726426  微信

活动时间:2025-08-01至08-31

  • KANSAI LOGIX 2026|劢微机器人以硬核技术,定义复杂场景无人搬运
  • 效率突破!优艾智合OW8-350 机器人,让半导体智造再进化
  • 优必选与德马科技战略签约,共绘物流具身商业蓝图
  • 非夕|王世全、卢策吾亮相福布斯环球科创大会:物理AI与具身智能,正在走向真实世界
  • 优必选再领衔三项国标获批!钢铁牛马进厂从此有“标”可依
  • 聚势谋远,笃行共赢|世恒集团莅临比亚迪集团总部参观交流
  • 国自防爆智能巡检机器人为易燃易爆高危场所筑牢“数智防线”
  • 校企携手传薪火,协同育人启新程——河南工学院学子走进金源环宇参观学习